


The STM8S003F3P6 is an 8-bit microcontroller packaged in a TSSOP20, featuring 8 KB of flash program memory and integrated true data EEPROM. It operates at a maximum frequency of 16 MHz and is capable of functioning in industrial environments ranging from -40°C to +85°C. It offers advantages such as performance, robustness, and reduced system costs. Additionally, it includes an internal clock oscillator, independent watchdog timer, clock security system, and undervoltage reset function. Its I/O interface is highly robust, making it suitable for applications such as motor control, home appliances, industrial control, and general embedded systems.
This article will provide a detailed description of the characteristics, application examples, and working principles of the STM8S003F3P6.
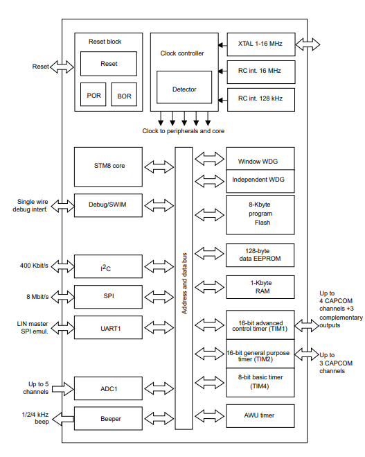
Core
Clock, reset and supply management
1. Core Architecture: It adopts an 8-bit STM8 core based on Harvard architecture, featuring separate program and data buses, enabling simultaneous access to instructions and data, thereby enhancing execution efficiency.
2. Storage System Collaboration: Flash program memory, EEPROM, and RAM work together to form the MCU's data processing and storage system, providing rapid access capabilities while ensuring long-term data reliability.
3. Clock and Reset Management:
Clock System: Four main clock sources
Clock Security System (CSS): Continuously monitors the stability of the main clock to prevent system malfunction due to clock anomalies.
Reset Circuit: Includes power-on reset, power-down reset, watchdog reset, etc., ensuring automatic system recovery under abnormal conditions.
4. Power Management and Collaboration: The chip operates in multiple low-power modes in coordination to meet the energy consumption requirements of different application scenarios, and automatically switches between these modes based on task demands, achieving a balance between performance and power consumption.
5. System Security and Reliability:
The STM8S003F3P6 features high performance, low power consumption, comprehensive functionality, and convenient development, making it an ideal solution for cost-sensitive control systems. It performs exceptionally well in application fields such as home appliance control and industrial control.
| Image | ![]() |
![]() |
| Part Number | STM8S003F3P6TR | STM8S003F3P6 |
| Manufacturer | STMicroelectronics | STMicroelectronics |
| Package/Case | 20-TSSOP (0.173", 4.40mm Width) | 20-TSSOP (0.173", 4.40mm Width) |
| Series | STM8S | STM8S |
| Packaging | Tape & Reel (TR) | Tube |
| Product Status | Active | Active |
| Programmable | Not Verified | Not Verified |
| Core Processor | STM8 | STM8 |
| Core Size | 8-Bit | 8-Bit |
| Speed | 16MHz | 16MHz |
| Connectivity | I2C, IrDA, LINbus, SPI, UART/USART | I2C, IrDA, LINbus, SPI, UART/USART |
| Peripherals | Brown-out Detect/Reset, POR, PWM, WDT | Brown-out Detect/Reset, POR, PWM, WDT |
| Number of I/O | 16 | 16 |
| Program Memory Size | 8KB (8K x 8) | 8KB (8K x 8) |
| Program Memory Type | FLASH | FLASH |
| EEPROM Size | 128 x 8 | 128 x 8 |
| RAM Size | 1K x 8 | 1K x 8 |
| Voltage - Supply (Vcc/Vdd) | 2.95V ~ 5.5V | 2.95V ~ 5.5V |
| Data Converters | A/D 5x10b | A/D 5x10b |
| Oscillator Type | Internal | Internal |
| Operating Temperature | -40°C ~ 85°C (TA) | -40°C ~ 85°C (TA) |
| Grade | - | - |
| Qualification | - | - |
| Mounting Type | Surface Mount | Surface Mount |
| Supplier Device Package |

Microchip Technology

Microchip Technology

Microchip Technology

Microchip Technology

Microchip Technology

Microchip Technology